Menu
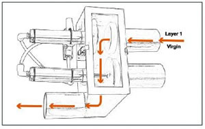
Simple proportioning/layering of materials, like virgin and regrind, can be accomplished with the use of an external proportioning valve. This reliable device can be added to the material inlet of any receiver. The internal valves open and close to allow the desired proportions of the materials to be introduced into the receiver.
External proportioning valve layers materials & works with receivers and loaders.
TIP – Clear polycarbonate window in proportioning valve allows visual confirmation of proper layering.
Ask the Expert

